This project has been developed together with some other OMs (in particular Marco IW1DGG) in our local radio club.
When we started looking at a simple transmitter providing sufficient power to exice the local ATV repeater
we did not find anything simple to build with components easy to find. At that time there was on the market one transmitter
based on SMDs components using a Mitsubishi hybrid power amplifier (M67715) no more available almost everywhere.
Looking on internet we found a simple transmitter based on through-hole mount components only and providing 50mW RF power.
It was presented at the ATV Meeting in Treviso on 2001 and you can find it
here (in italian ony), on the A.R.I. Vittorio Veneto web site.
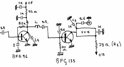
As said above, the circuit has been taken from the A.R.I. Vittorio Veneto web site www.arivv.it. The schematic has been only slightly modified and it has been provided with a power amplifier stage based on a BFR96 and BFG35 (or BFG135) able to provide about 0.5W RF power. The PA has been designed based on suggestions from Marcello IK1YWB and taking as starting point PAs used years ago in Packet Radio RTX @ 23cm designed by Matjaz Vidmar.
Transmitter ATV 50 mW – ARI Vittorio Veneto
Power Amplifier 0,5 W – Marcello IK1YWB
The following circuit description is translated from the one taken from http://www.arivv.it/default.php?page=progetti_cs_txatv1240.
The circuit has been developed using wherever possible components easy to find on the market, using only standard inductors to avoid winding up them and trying to reduce tuning needs to the maximum extent.
The video signal is applied to a pre-emphasis network, needed in any FM system to improve the overall signal-to-noise ratio. After trimming,
it is fed to the AV mixer that also acts as a filter. This is a parallel LC resonant circuit implementing a Notch filter tuned at 6.5MHz
since at this frequency it provides a high impedance for the video signal.
The properly trimmed audio signal is applied to an operational amplifier that, in this case, introduces a pre-emphasis of 50 microseconds and
also allows choosing between two gain levels. The first gain level - lower - is good for an "electret" microphone (it is also foreseen a
resistor to supply it), while the second - higher - is for a line-in signal. At this point, the signal is applied on the varicap diode of the
audio oscillator, modulating it.
The signal at 6.5MHz is buffered by a Source follower that provides a low impedance toward the second filter of the AV mixer for its correct
operation. This filter consists of a series LC resonant circuit which provides a low impedance at the resonance frequency of 6.5MHz, allowing
the audio signal passing through it. The following figure shows the bandwidth of both filters and gives an idea of the effect of the mixer.
The video signal and the audio carrier mixed together modulate the VCO at 1.2GHz, implemented by the transistor BFW92, generating the RF
signal shown in figure above. As can be seen, the audio carrier, 6.5MHz apart from the video signal, is attenuated by about 15dB (it could be
even 20dB lower). This value can be adjusted by modifying the value of the resistor mounted on the Drain of the FET.
At this point, the RF signal generated by the VCO is applied to an amplifier made by the BFR96 which provides about 17 dBm (50 mW). A small
amount of the carrier is applied to the IC TSA5511 (SDA3202), usually used in the RF section of a well know Italian TV brand. This IC, programmed
by the microcontroller PIC16F84, allows the stabilization of the frequency on four selectable channels.
The slow lock-in time of the PLL (about 200ms) is desired and is due to the loop filter bandwidth, which is designed in order not to introduce
distortion on the video signal. Therefore, it is sized so that its cut-off frequency is about 10 times lower than the minimum modulating
frequency, i.e. the vertical synch frequency of the video signal (50Hz).
The assembly does not show any particular difficulty. Pay attention to the 10Ohm resistor on the collector of the BFR96, whose terminal has to be used to wind-up an inductor in air, consisting of 2 turns on a 2mm diameter. In the same area, pay attention to the 12pF capacitor that has to be soldered with its terminals at least few millimiters longs, as shown in the picture.
For final test, it is only necessary to tune the capacitive trimmer to set the audio carrier at 6.5MHz. Done this, the transmitter is ready to be used to send its first video signal in the air. The output power is sufficient to perform some short distance QSO, and it is possible to strength the signal with a simple PA, but it is also good as a driver for transverters at 5 or 10 GHz.
Our circuit is in principle the same as described above. As already said, the only significant modification is the addition of the 0,5W RF amplifier. In the following figure it is shown the modified electric diagram.
Here after, you can find the complete component list, their disposition on the board and a picture of our prototype that could help in the assembly.
Our circuit foresees (on the right) the power input, the input/output for the PA switch and 2 LEDs (green/red) to show exciter ON and PA ON
respectively. In this way it is possible to leave the exciter always ON with the PLL locked on the desired channel, and switch ON/OFF only
the PA, to go in TX.
The VIDEO input is jumper J10, while AUDIO is jumper J12. J11 can be used to close the VIDEO input onto a 75Ohm load, while L9 is used
to supply preamplified microphones ("ELECTRECT").
| Components List | |
| RESISTORS (1/4 W) 5 10 Ohm 1 18 Ohm 1 27 Ohm – 1W 1 47 Ohm 2 56 Ohm 1 68 Ohm 1 75 Ohm 3 100 Ohm 6 150 Ohm 1 330 Ohm 1 820 Ohm 3 1k Ohm 1 1,5k Ohm 1 2,7k Ohm 2 4,7k Ohm 2 8,2k Ohm 11 10k Ohm 9 22k Ohm 1 56k Ohm 1 100k Ohm 1 560k Ohm HORIZONTAL TRIMMERS 10mm 1 1k Ohm 1 22k Ohm POLYESTER CAPACITORS 5mm PITCH 1 4,7nF 10 100nF 1 220nF 2 470nF DISC CERAMIC CAPACITORS 5mm PITCH 2 1pF 1 2,2pF 1 10pF 7 12pF 1 22pF 2 68pF 2 82pF 1 680pF 12 1nF 3 10nF ELECTROLYTIC CAPACTIORS 16V 3 1uF 2 10uF 1 47uF 1 100uF 1 220uF |
CAPACITIVE TRIMMERS TZ03 SERIE 1 GREEN 1 RED 3 BLU RADIAL INDUCTORS NEOSID 5mm PITCH 2 10uH 2 22uH AXIAL INDUCTORS 10mm 2 1uH TRANSISTOR 1 BF245 1 BF199 1 BC337 1 BFW92 2 BFR96s 1 BFG35 DIODS 1 1N4148 2 1N4007 1 BB529 1 BB833 ICs 1 78L05 1 7808 1 TL081 1 TSA5511 1 PIC 16F84 OTHER COMPONENTS 1 FERRITE VK200 1 QUARTZ 4MHz 1 CONNECTOR STRIPLINE 3 JUMPERS 1 LED RED 3mm 1 LED GREED 3mm 11 FEEDTHROUGH CAPACITORS 1 N CONNECTOR (FEMALE) 50O PANEL MOUNT WITH SQUARE FLANGE AND TEFLON DIELECTRIC 2 SWITCHES 1 SOCKET A 4+4 PIN 1 SOCKET A 9+9 PIN |

REMARK: The components that you find in our kit may differ in shape from those in the picture above. You should take as a reference the components layout on the left. The picture can be useful to understand how to mount some components (in particular the RF part).
When we mounted the firsts prototypes, we discovered that the output level from the transmitter was still too high even with the PA switched
off (i.e. with the BFR96 driver on, only). The simplest solution we found was to switch off the PA driver, too.
In order to do that, you have to modify the PCB as follows:


We suggest to mount the components in the following sequence:
Finally, do not forget the two flying connections to be installed on the bottom side, one between the 100 nF capacitor and the 10 Ohm
resistor and the other between the 56 Ohm resistor (through the hole made at the beginning) and the VK200 inductor.
The picture aside shows where these two connections have to be soldered.
When you assemble the circuit, in particular the RF part, you should take care to the following points (also highlighted in the picture
above):
In order to program the PIC you need the SW available on the www.aribra.it website. The SW that we provide does allow you to select the following channels:
(the last 2 channels can be used for direct QSOs).
On the website, you can also find a simple SW to modify the channels frequencies directly in the .HEX file, allowing choosing whichever value
you want within the PLL tracking range and within the output power tuning range.
Before mounting the board in its box we suggest to test it.
Set the transmitter at 1240 MHz and switch it on (without switching on the final, otherwise...).
First of all, the RED capacitive trimmed near the TL081 has to be tuned in order to fix the frequency of the audio carrier at 6.5 MHz. To do
this, you can use an FM HF receiver tuned at 6.5 MHz with a short piece of cable connected to the antenna port. The open end of the cable shall
be kept near to the capacitive trimmer while tuning it until maximum signal is obtained on the RX and a clear sound can be heard (you can use
an audio source or you can allow Larsen effect starts between RX and TX). During tuning, it may happen that the audio oscillator stops
oscillate, for particular positions of the capacitive trimmer. The only way to start it again is to move the trimmer and switch off and then on
the TX. On few models, we were not able to tune exactly the audio subcarrier frequency at 6.5 MHz. The problem is the varicap (BB529)
polarization voltage. To minimize this problem we already replaced the capacitive trimmer with a RED one that allows achieving higher frequency.
However, in case the frequency can still not be tuned to 6.5 MHz, the 10k Ohm resistor in the corner of the PCB where the TL081 is located,
near to the 10uF electrolytic capacitor, can be replaced with a 12k Ohm one. With this modification, you should be able to raise the voltage
on the varicap allowing it to oscillate at 6.5 MHz. Once completed this tuning you can pass to the RF part.
First step is to check the lock status of the PLL by measuring the voltage on the terminal of the 10k resistor near the BF245. If the
voltage is about 4 V the PLL is locked, otherwise there is a problem on the PIC, on the TSA5511 or in the PLL (BFW92 and surrounding
components). If the voltage is OK, take an analog TVSAT receiver, disconnect the antenna and replace it with a piece of wire or a resistor and
set the receiver frequency at 1240 MHz with audio subcarrier at 6.5 MHz. In this way, you should be able to receive the signal from the
transmitter and see the video signal on the TV or monitor.
If everything works fine, you can put your board in a suitable box. You can build it by your self using copper sheet, as shown in the following figures.
A good alternative to the copper sheet is a new bakelite or epoxy resin board with at least one copper layer. We realized a couple of boxes
using these boards and the final result was also good (this material is easy to be cut than the copper sheet). The measures can be taken from
the figure above, taking into account that the size of the two longer faces has to be increased by two time the thickness of the board used (e.g.
1,6mm + 1,6mm).
Before installing the circuit inside the box, make all holes needed to mount the N connector (the picture shows a BNC that has been later
replaced) paying attention to its right position with respect to the longer face of the box, since, at the end, its terminal shall coincide
exactly with the output microstrip. We suggest to identify the position of the center of the connector hole inserting the circuit inside the box and
making a mark in correspondence of the output line. You can make this hole slightly larger to have the possibility to adjust at a later stage
the position of the connector.
For the input/output of signals and power lines we have foreseen 11 feed-through capacitors. These are:
Once the box is completed, you can mount the circuit inside (remind that the N connector terminal must lay exactly on the output stripline where it has to be soldered). The ground plane on the bottom side must be soldered completely to the box. In order to do this, you need a sufficiently powerful soldering iron and a small one to be used simultaneously to realize a uniform tin strip along the board edges and on the box. Further, to avoid RF power losses, we suggest also to solder the top layer of the PCB to the box, at least near the output connector.
At this point you can test the final stage, too. To do this, the best approach would be to use a wattmeter (or an RF diode connecter to a
tester as we did before we bought the wattmeter). Once wattmeter and load are connected (without load you risk to damage the BFG35!!!) you can try to
adjust the BLU capacitive trimmers to achieve the maximum signal starting from the first one at PLL output till the last one, and repeating
this operation few times. The power levels achieved by us on the first models were between 0.5 W and 0.7 W (significantly dependent on how
much tin remains in excess on the striplines and on the coupling between N connector and PCB).
Pay attention that on some models the first capacitive trimmer resonates in two points but only one is the one giving the maximum output power.
In case of problems or for a more accurate tuning, you can contact us at out e-mail addresses.
See you soon!
’73 de Iw1dgg & Iw1fnw